2022美国航母数量有多少?最新数据

发布人: -****I  | 2022-08-29  |  人气:1840

2022美国航母数量多少?

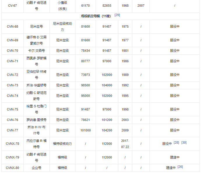
据公开资料,截止目前,美国航母(美国航空母舰)在役舰数11艘,在建舰数2艘。

美国航母,美国航空母舰(英文:USS Aircraft Carrier),是美国以舰载机为主要战斗装备,并为其提供海上活动基地的大型水面战斗舰艇。1922年3月首艘入役【兰利号航空母舰(USS Langley CV-1)】,现役11艘,其中,尼米兹级核动力航空母舰共10艘,福特级核动力航空母舰1艘【代表舰艇:福特号航空母舰】。

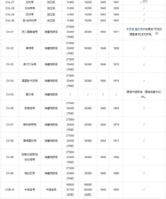
兰利号航空母舰(USS Langley CV-1)

是美国海军隶下的第一艘航空母舰,兰利号航空母舰由1913年4月7日服役的AC-3“木星”号运煤船改装而来,具有一个全通式木质飞行甲板,甲板长165.3米,宽19.8米,最大载机量56架。兰利号航空母舰于1922年3月20日服役,其命名是为了纪念美国天文学家、物理学家和航空器的发展先锋塞缪尔·皮尔庞特·兰利;1936年,兰利号被改装成为水上飞机母舰;1942年2月27日,兰利号在任务期间被日本海军陆上攻击机击沉。

福特号航空母舰(USS Gerald R.Ford)

福特号航空母舰,全称:杰拉尔德·R·福特号航空母舰,是美国福特级航空母舰的首舰,是美国海军在役的第11艘航母。

福特号航空母舰造价达约130亿美元,是美国海军有史以来造价最高的一艘舰船。该舰采用了诸多高新技术,主要包括综合电力推进、电磁弹射技术,将成为21世纪美军海上打击力量的中坚。

美国航空母舰一览

数据来源:百度百科

以上就是对美国航空母舰数量的简单介绍,更多最新数据,敬请关注三个皮匠报告数据栏目了解。

推荐阅读

Docomo Digital:美国5G服务订阅量增长情况如何?

西班牙裔美国人购买力有多大?(附Claritas报告)

美国就业人员数量达多少?(附美国传统基金会报告)

上一篇:2022年7月中国金融市场运行情况概览

下一篇:2022拼多多二季度财报发布,拼多多营收314.396亿元
相关资源
【研报】半导体行业:APU赛道分析-20201101(113页).pdf 【研报】半导体行业:APU赛道分析-20201101(113页).pdf
【研报】半导体行业:电子年度策略报告否极泰来-20201106(115页).pdf 【研报】半导体行业:电子年度策略报告否极泰来-20201106(115页).pdf
【研报】半导体行业跟踪报告之一:全球半导体景气高企投资主轴关注设计龙头-20201109(22页).pdf 【研报】半导体行业跟踪报告之一:全球半导体景气高企投资主轴关注设计龙头-20201109(22页).pdf
【研报】半导体设备行业深度报告一:工欲善其事必先利其器国产替代正当时-20210106(44页).pdf 【研报】半导体设备行业深度报告一:工欲善其事必先利其器国产替代正当时-20210106(44页).pdf
【研报】半导体设备行业数据超融合系列:半导体设备专题长周期政策红利显著国产替代爆发在即-210114(17页).pdf 【研报】半导体设备行业数据超融合系列:半导体设备专题长周期政策红利显著国产替代爆发在即-210114(17页).pdf
【研报】电子、半导体行业:设计看应用景气代工链看国产替代-210118(23页).pdf 【研报】电子、半导体行业:设计看应用景气代工链看国产替代-210118(23页).pdf
【研报】半导体行业:砷化镓本土闭环碳化硅等待“奇点时刻”-210228(23页).pdf 【研报】半导体行业:砷化镓本土闭环碳化硅等待“奇点时刻”-210228(23页).pdf
【研报】半导体行业:先进封装价值增厚-210303(33页).pdf 【研报】半导体行业:先进封装价值增厚-210303(33页).pdf
热门提问
中国历年出生人口数量一览表(1949-2021)
全国医院数量、三级医院数量、民营医院数量最新统计数据一览
2022中国公务员数量是多少?全国公务员数量一览
中国医生数量有多少?最新数据一览2022
全球海外华人数量有多少?华人最多的国家排名TOP10一览
中国每年结婚人数是多少?历年结婚人数统计
中国每年新生儿数量是多少?历年新生儿数量统计
目前我国中小企业数量是多少?2022中国的中小企业数量统计
最新提问
钣金外壳市场
自动化制刷设备行业分析
钣金外壳市场未来趋势如何?
自动化制刷设备技术发展趋势?
数据安全产业未来五年发展趋势如何?
如何设计股东协议中的退出机制?
农村电视发展现状
人工智能与旅游:AIGC技术将如何改变我们的旅行方式?

当前位置:首页 > 问答求助 > 数据


关于我们                               联系我们


copyright@ 2008-2013        长沙景略智创信息技术有限公司版权所有
网站备案/许可证号:湘ICP备17000430号-2